Galaxy tri-fold smartfón: Nový patent odhaľuje dôležité detaily
Tie sú pre úspech zariadenia kľúčové.
Kórejská spoločnosť stála na začiatku éry skladateľných smartfónov, ktoré sa tešia čoraz väčšej popularite. Samsung je aj jedným z hlavných inovátorov v tejto oblasti, avšak čínska konkurencia je z roka na rok silnejšia, čoho výsledkom je nové smerovanie trhu. Výrobca pred pár dňami predstavil špeciálnu edíciu série Galaxy Z Fold, ktorá vyniká tenkým dizajnom. Ním bude inšpirovaný aj nový štvrtý model série Galaxy S25, avšak Samsung ide ešte ďalej.
Ďalším vývojovým stupňom skladateľných zariadení sú tzv. tri-fold smartfóny. Prvé takéto zariadenie už predstavil Huawei pod názvom Huawei Mate XT. To by sa malo na základe dostupných informácií neskôr objaviť aj na globálnom trhu, čiže aj v Európe. Koncom októbra sa objavila ďalšia správa, že aj Samsung plánuje vydať tri-fold smartfón, ktorý by mal budúci rok doplniť štandardný model Galaxy Fold7.
Viac svetla do celej problematiky prináša nový patent spoločnosti Samsung. Ten potvrdzuje, že Samsung skutočne pracuje na svojom prvom tri-fold (trojitom skladateľnom) telefóne, s cieľom posunúť inovácie v oblasti Galaxy zariadení na novú úroveň, čo je vzhľadom na pokrok konkurencie nevyhnutné.
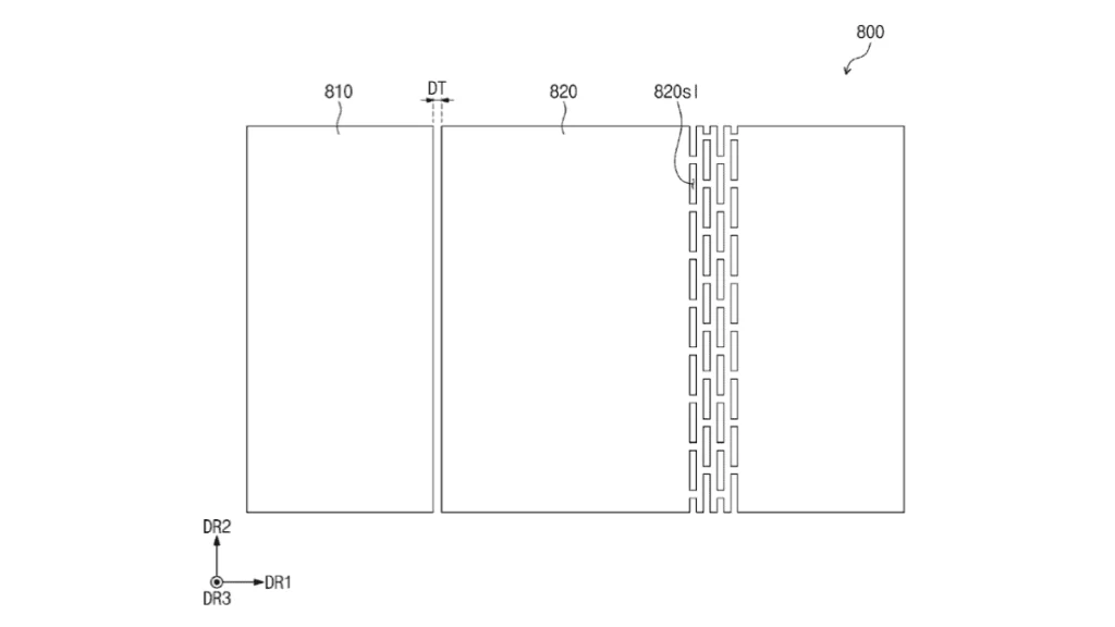
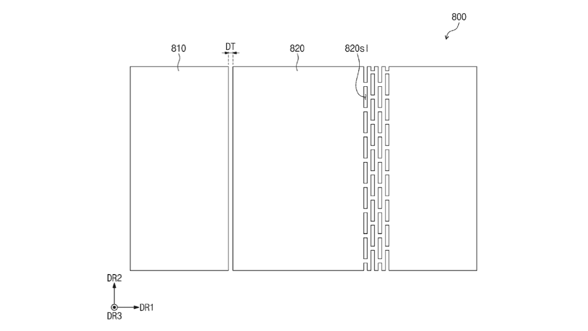
V súvislosti so zložitou konštrukciou tri-fold zariadenia si Samsung patentoval systém strategicky umiestnených otvorov, ktoré zmiernia tlak na obrazovku počas skladania a rozkladania, čím sa zníži riziko jej poškodenia. To však nie je všetko.
Patent obsahuje vrstvy lepidla a nerezových alebo sklenených podporných platní, aby bola obrazovka pevná v zloženom aj rozloženom stave. Patentová prihláška tiež obsahuje antireflexný systém na báze syntetickej živice a ochranný štít na ochranu proti poškodeniu malými časticami.
Dátum podania patentu
V prípade patentu prvého Galaxy tri-fold smartfónu je zaujímavé, že spoločnosť Samsung ho podala už v roku 2021, ale schválený bol až v novembri 2024. V konkurenčnom boji to síce Samsung oproti Huawei posúva na horšiu pozíciu, ale je pravdepodobné, že práve prvé tri-fold zariadenie od Samsungu bude mať väčší komerčný úspech.
Zdroj: PhoneArena
Prečítajte si aj:
Podobné články
Dark web v roku 2026: Mýty a fakty o temnom internete
Pixel 10a je krajší, výkon však stagnuje
Nothing Phone (4a) príde 5. marca. Mieri vyššie než doteraz
TOP 10 najobľúbenejších filmov na internete 2026 – 7. týždeň
Galaxy S26 Ultra ochráni správy pred zvedavými pohľadmi
