Samsung Galaxy X: Nový koncept s tromi displejmi?
1m čítanie

Samsung Galaxy X: Nový koncept s tromi displejmi?

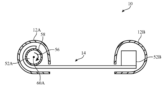
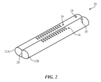
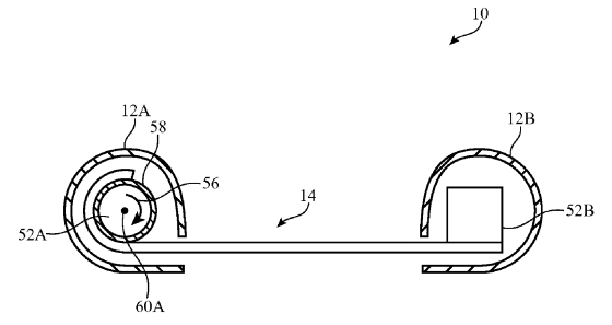
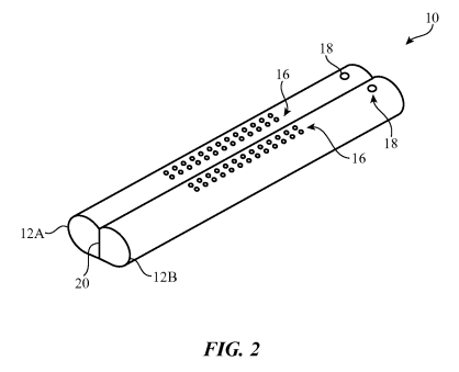
Pripravovaná vlajková loď spoločnosti Samsung by mohla obsahovať až tri LED panely. Tento progresívny model by mal niesť názov Galaxy X. Objavilo sa už niekoľko konceptov tohto zariadenia, ale najnovší obsahuje tri 3,5” obrazovky, ktoré by mali svojou kombináciou vytvoriť 7” displej. Tretí panel, ktorý sa využíva v režime telefónu je po preklopení do režimu tabletu na zadnej strane. Ďalšie dva displeje, v režime telefónu, sú ukryté vo vnútri zariadenia ako v knihe. Pokiaľ by takéto zariadenie skutočne existovalo, tak by to bol ďalší krok spoločnosti Samsung vo vývoji skladacích zariadení, ktorých vývoj bol predstavený už v roku 2011. Tento rok na MWC v Barcelone spoločnosť Samsung tvrdila, že chce v blízkej dobe predstaviť skladacie zariadenie s high-end špecifikáciami. Toto zariadenie (pravdepodobne Galaxy X) chcela spoločnosť predstaviť už v roku 2017, ale očividne sa jej to nepodarilo. V roku 2017 získala spoločnosť Apple patent na zariadenie s flexibilným displejom. Z tohto konceptu nie je jasné, čo by malo rolovacie zariadenie priniesť, ale minimálne odvaha konceptu nechýba. Sklopné zariadenie predstavilo aj ZTE, ibaže v tomto prípade zariadenie vyzerá pomerne staromódne.
zdroj: mashable Prečítajte si aj: https://touchit.sk/novy-gmail-pride-uz-tento-tyzden-ponukne-upraveny-dizajn-ale-najma-emaily-ktore-sa-automaticky-vymazu/166768