Samsung pracuje na skutočne bezdrôtovom nabíjaní
2m čítanie

Samsung pracuje na skutočne bezdrôtovom nabíjaní

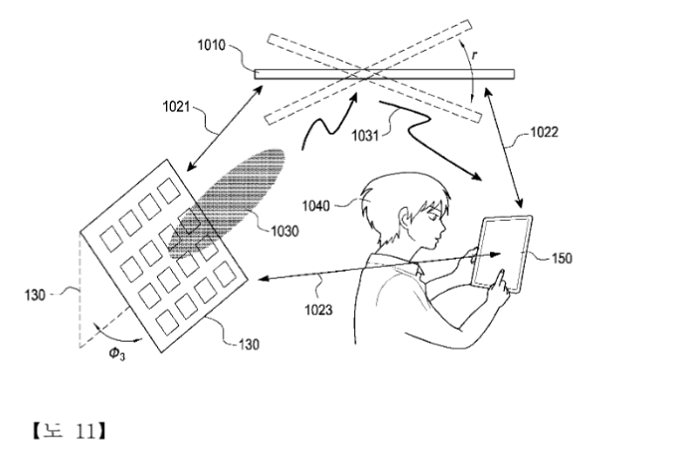
Ešte v roku 2016 si spoločnosť Samsung dala patentovať bezdrôtové nabíjanie, ktoré je šírené vzduchom. Chce sa tak zaradiť ku spoločnostiam, ako napríklad Disney, ktoré budujú bezdrôtové nabíjacie siete. Tento patent vylepšuje už zavedené bezdrôtové nabíjanie, ktoré v dnešnej dobe potrebuje pre svoje fungovanie nabíjací adaptér a podložku. Skutočné bezdrôtové nabíjanie začne fungovať automaticky v akomkoľvek kompatibilnom zariadení, pokiaľ je v dosahu signál pre tento spôsob nabíjania. Nepotrebujete využívať žiadnu nabíjaciu podložka a smartfón sa môže nabíjať v podstate kedykoľvek.

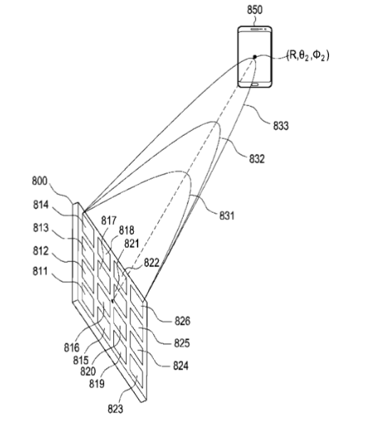
V týchto dňoch zverejnený patent znázorňuje fungovanie OTA nabíjania od spoločnosti Samsung

Patent spoločnosti Samsung, ktorý bol podaný v Južnej Kórei, opisuje spôsob šírenia energie k zariadeniu v miestnosti, ktorá je vybavená bezdrôtovým nabíjaním OTA. Systém  umožní zariadenia nabíjať bezdrôtovo aj v prípade, že používateľ chodí po miestnosti, vďaka žiaričom, ktoré vysielajú v interiéri signál nabíjania bez akýchkoľvek prekážok. Je to pomerne progresívna technológia, ktorá by sa mala na trhu objaviť v najbližších troch až piatich rokoch. Vôbec nie je jasné aktuálne postavenie spoločnosti Samsung na vývoji s touto inovatívnou technológiou. Je ale jasné, že čím viac spoločností bude pracovať na tejto technológii, tak tým skôr sa aj môžeme dočkať skutočného bezdrôtového nabíjania. zdroj: phonearena Prečítajte si aj: https://touchit.sk/apple-by-mal-udajne-v-roku-2020-predstavit-skladaci-iphone/161419